
据报道,近来短道速滑奥运冠军王濛或将获得破格提升,这一消息引起了广泛讨论。
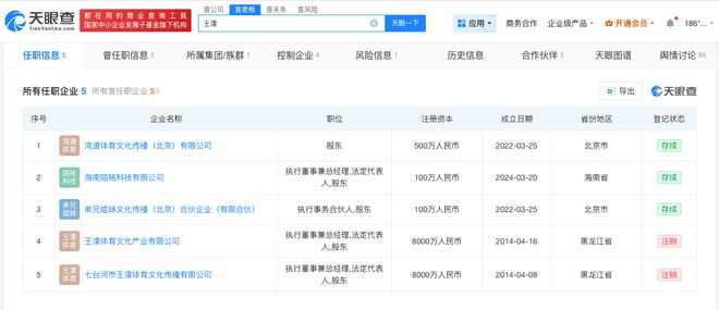
天眼查的资料表明,王濛与五家企业有关联,这些企业包括湾道体育文化传播(北京)有限公司、海南陌铭科技有限公司以及弟兄姐妹文化传播(北京)合伙企业(有限合伙)。她在这些公司中担任法定代表人和执行董事兼总经理的角色,业务范围涵盖了体育文化及科技等多个领域。
其中,湾道体育文化传播(北京)有限公司的股份中有89%归属于王濛。此外,该公司还注册了包括“王濛”、“濛主播”以及“濛主驾到”在内的多个商标。



据报道,近来短道速滑奥运冠军王濛或将获得破格提升,这一消息引起了广泛讨论。
天眼查的资料表明,王濛与五家企业有关联,这些企业包括湾道体育文化传播(北京)有限公司、海南陌铭科技有限公司以及弟兄姐妹文化传播(北京)合伙企业(有限合伙)。她在这些公司中担任法定代表人和执行董事兼总经理的角色,业务范围涵盖了体育文化及科技等多个领域。
其中,湾道体育文化传播(北京)有限公司的股份中有89%归属于王濛。此外,该公司还注册了包括“王濛”、“濛主播”以及“濛主驾到”在内的多个商标。


免责声明:由于无法甄别是否为投稿用户创作以及文章的准确性,本站尊重并保护知识产权,根据《信息网络传播权保护条例》,如我们转载的作品侵犯了您的权利,请您通知我们,请将本侵权页面网址发送邮件到[email protected],深感抱歉,我们会做删除处理。